浅谈水下桩基础加固技术
发布日期:2017-12-27 15:37:02 浏览量:2090浅谈水下桩基础加固技术
随着社会经济的发展,交通量的增加,部分桥梁下部结构出现不同程度的病害,其中水下桩基础的病害尤为突出。经多年河流冲刷,河床断面下切,还有一些桥位处因河道挖沙、取土等因素的影响,使得水下桩基础埋置深度不断减小,桩基础出现缩径等情况,严重影响了桥梁的安全,为此寻找水下桩基础病害的科学性加固方法是十分迫切和必要的。
1 桥梁概况
该大桥建成于1983年,全长554.3m,桥面宽1.5m+9m+1.5m,桥面纵坡3%,竖曲线半径4666.67m。主桥上部结构由预应力钢筋混凝土T型刚构加25.0m挂梁组成,共两孔,跨度为52.5m,下部结构为钢筋混凝土实体桥墩,沉井基础;引桥为14孔跨径30.0m预应力混凝土简支梁,下部结构为柱式桥墩,直径1.5m的钻孔灌注桩基础,其中1~3号墩为嵌岩桩。
2 大桥病害
该桥大部分水下桩基础由于河床冲刷下切以至使施工时的混凝土护筒下端外露,有混凝土护筒包裹的区段,混凝土护筒外径约为1.90m,满足设计要求的1.50m桩径,但是由于该墩处河床面冲刷下切严重,施工用的混凝土护筒下端已基本外露,因此在桩基下部无混凝土护筒的区段,由于桩基施工的因素,在无护筒段存在不同程度的缩颈现象,桩基础的实际直径1.30m已达不到设计要求的1.50m;由此造成水下桩基础的无护筒段钢筋笼外露和严重掏空现象。对于水下桩基钢筋笼外露现象,应及时采取修补措施,针对河床冲刷下切严重的现象,应采取抛石等抗冲刷的防护措施,以策安全;
三个主墩处的河床冲刷下切严重,特别是6号、7号、8号墩处检测时的河床面距设计虑及的最大冲刷深度线已超2m左右,而最大冲刷线是指水位达到设计洪水位时(百年一遇)的桥墩位处必须虑及的可能出现的最大冲刷,而该桥检测是在常水位下的正常作业,因此应对主墩处的河床冲刷情况加以足够的重视。
4 维修加固方案
4.1 加固设计思路
从检测报告来看,该桥于1983年竣工。由于河床冲刷程度较大,河床面冲刷下切严重,以至使多数桩基础施工时的混凝土护筒下端外露在桩基下部,无护筒段存在不同程度的缩颈现象以至桩基实际直径达不到设计要求,并且部分桩基础存在钢筋笼外露和严重掏空现象,对结构的安全性和耐久性带来危害,需立即进行加固及补强处理。
针对以上主要结构病害,结合该桥水文资料,提出三种加固方案进行比较,推荐最优方案。
4.2 方案一:水下植筋加大截面加固
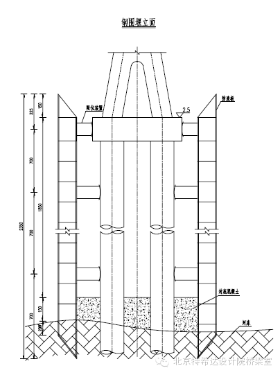
根据检测报告及竣工图等相关资料,该桥桩基础病害均在水中,且桥位处常水位较高、水深较深,同时在7号墩与8号墩之间和8号墩与9号墩之间为主航道通航区,为了不压缩过水断面、不影响通航的前提下,顺利的完成桩基础加固工作,本方案通过水下植筋将新增截面与原结构连接成整体,提高桩身混凝土耐久性,同时也将混凝土护筒下端受损部位桩身予以修复。
由潜水员在水中清理桩基础表面水生物及劣化混凝土后,采用水下植筋工艺在原桩基础表面打孔、植筋。植筋采用16钢筋,钻孔深度为16cm,孔径为φ20mm。水下绑扎钢筋笼,通过植筋将外围钢筋笼与原桩基础连接锚固。钢筋笼施工完成后水下进行钢模板的施工,模板采用内径φ190钢管,在加工厂制作成两个半圆形,采用法兰连接,在水下由潜水员进行连接锚固。在原桩基础周围布置导管进行增大截面混凝土浇注,在原桩基础外增大截面厚度为20cm。通过在水下对原桩基础的增大截面,增大了桩径,实现了对原桩基础的修复,同时有效抑制桩基础病害的产生。
为确保加固质量、加强监督,在加固过程中及加固完成验收时采用水下监测成像设备,由潜水员将探头拿到水中,监理工程师通过成像设备在陆地进行监控,以确保施工质量。
4.3方案二:玄武岩纤维网格加固
利用玄武岩纤维网格的高强度和柔耐性,通过水下环氧树脂的粘合力,围箍在混凝土护筒下端受损桩身表面,提高桩身砼耐久性,同时也将受损的部位予以修复。
玄武岩纤维网格具有强度高、柔性好、轻而薄、耐久性好、施工便利等特点,由潜水员在水中将玄武岩纤维网格包裹在桩基础表面,通过灌注水下环氧树脂将玄武岩纤维网格包裹于桩基础表面,并在施工完成后保留桩基础表面钢模板。此方案在实现了对桩基础病害的修复,同时有效抑制桩基础病害的产生。
4.4 方案三:钢套管或钢围堰围水增大截面无水加固
以上两个加固方案均为水下施工,水下施工对潜水员的要求较高,受水流流速及潮汐影响较大,同时加固完成后的质量验收较难。因此,提出水深较浅处采用钢套管(钢围堰)围水结构将原桩基础包围,钢套管内抽水,将水下桩基础加固施工转为“陆地”桩基础施工,大大减小了施工风险。
钢套管围水结构将单根桩基础包围,钢围堰围水结构将7号墩(或9号墩)4根桩基础同时包围,进行无水常规加固施工。但因此方案造价较高、施工繁琐、同时无底钢围堰受水深及冲刷影响较大,大大提高了施工难度,同时会临时压缩过水断面、占用河道较宽,影响通航,故此处仅作为比选方来进行介绍。
在加工场按设计要求制作钢套管节段及连接件,钢套管为φ3.5m壁厚25mm钢管,采用法兰盘将两个半圆连接成整体,在水位高于横系梁处应对其进行加固处理,将横系梁包裹于钢套管下,并进行止水处理。将钢套管内水抽出后,对原桩基础表面进行清理、植筋、钢筋笼绑扎、支模板及浇注增大截面混凝土施工,原桩基础外混凝土护筒下端受损桩身范围增大截面厚度为20cm。
4.5 方案比选
表1 方案比选表
序号 | 比选 内容 | 方案一:水下植筋增大截面加固 | 方案二:玄武岩纤维网格加固 | 方案三:钢套管、钢围堰围水增大截面加固 |
1 | 受力 性能 | 采用水下植筋将增大截面混凝土与原桩基础有效连接,可提高桩身混凝土耐久性,抑制病害的产生。 | 采用新材料将受损原桩基础进行包裹,并保留原钢模板,可有效提高桩身砼耐久性,抑制病害的产生。 | 采用“陆地”增大截面混凝土施工,通过植筋连接增大截面混凝土与原桩基础,可提高桩身混凝土耐久性。 |
2 | 施工 环境 | 潜水员水下施工 | 潜水员水下施工 | “陆地”施工、潜水员辅助施工 |
3 | 施工难易程度 | 因无需采用围水结构施工,大大节省了资源。施工工序简单,施工难度较低。 | 因无需采用围水结构施工,大大节省了资源。施工工序简单,施工难度较低。 | 对施工期水位要求较低,但受河床冲刷影响较大,施工难度较大。 |
4 | 施工 工期 | 所需设备较少,需进行水下植筋、安装钢筋,施工工期较短。 | 所需设备较少,需水下安装玄武岩纤维网格,施工工期较短。 | 需采用大型设备,钢套管的加工及周转周期较长,施工工期较长。 |
5 | 工程 造价 | 水下施工工艺成熟,属常规材料,造价较低。 | 水下施工工艺成熟,但采用新材料,造价较高。 | 钢套管施工措施费及施工辅助材料费高,造价较高。 |
6 | 推荐 意见 | 推荐 | 比较 | 比较 |
针对该桥主要结构病害,结合该桥水文资料,从施工工艺、工程造价等方面综合考虑,确定采用水下植筋增大截面法对桩基础进行加固。
5结束语
根据有关部门的统计,截止到2007年,我国各类桥梁约有五十二万座,每年开工建设的桥梁约为一万余座。这其中相当数量的桥梁基础属水中基础,而水中基础中又以桩基础为主,随着时间的推移,河床的冲於、水质的变化,水中桩基础出现的问题会越来越多,需要维修处治的也会越来越多。由于桩基础作为整个桥梁的重要承重构件,一旦出现安全问题,后果不堪设想,因此水中桩基础加固技术的全面推广应用,将对国民经济发展赖以支撑的交通运输网络起到保驾护航的作用。通过本项目对水下桩基础的加固,进一步的总结了水下桩基础的加固方法及适用性,对类似加固工程有一定的借鉴作用。
微信扫一扫
关注该公众号
文章来源: 永年加固公司 本文链接: http://lubanwang.com/a_20180108153755.html 任何关于加固工程的问题和建议,敬请咨询:0591-87868646
上一篇:招聘信息
下一篇:结构补强有什么需要注意的事项






